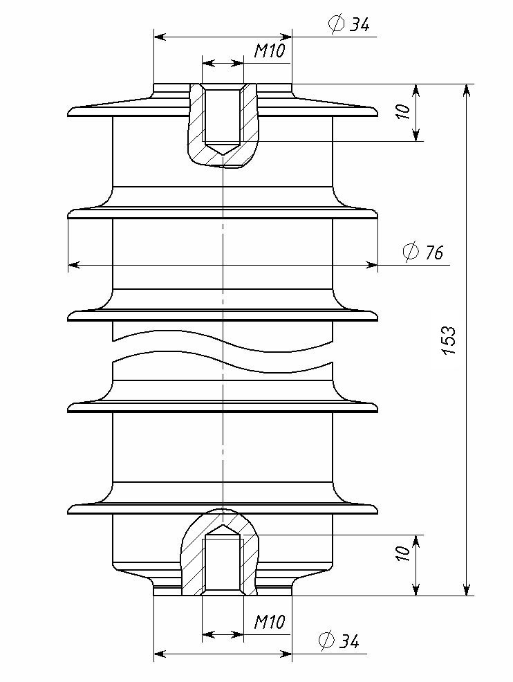
Ограничители перенапряжений
Устройства защиты от перенапряжений нелинейные (УЗПН), предназначены для защиты изоляции ВЛ 6, 10 и 35 кВ от грозовых перенапряжений и защиты от пережога дугой сопровождающего тока изолированных проводов ВЛ.
Устройства предназначены для снижения числа грозовых отключений воздушных линий 6-10 кВ и предотвращения пережога изолированных проводов ВЛЗ дугой опровождающего тока промышленной частоты. Устройства предназначены для установки на опорах с изоляторами штыревого типа.
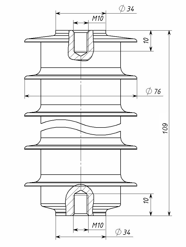
Предназначены для защиты электрооборудования в сетях с изолированной нейтралью, напряжением 10 кВ.
Предназначены для защиты электрооборудования в сетях с изолированной нейтралью, напряжением 10 кВ.
Предназначены для защиты электрооборудования в сетях с изолированной нейтралью, напряжением 6 кВ.
Предназначены для защиты электрооборудования в сетях с изолированной нейтралью, напряжением 6 кВ.
Ограничители перенапряжений используются для защиты электрооборудования от перенапряжений, вызываемых молнией или возникающих при проведении переключений.







